Google a breveté un bracelet anti-cancer
mer, 25/03/2015 - 17:23
Google, via sa start-up Calico, vient de déposer le brevet d'un bracelet connecté auprès de la World Intellectual Property Organization (WIPO)
Nous sommes cette fois loin de la montre ou du bracelet connecté hébergeant une application de fitness. Ce bracelet a pour but de guérir, ou d'aider à guérir, le cancer. Ou du moins certaines formes de cancer, du sang notamment. Pour Google, les méthodes de traitement contre le cancer sont bonnes, mais elles sont systémiques, c'est-à-dire qu'elles ne ciblent pas uniquement les cellules malades du sang.
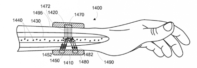
Le brevet du bracelet de Google, baptisé Nanoparticule Phoresis, envisage plusieurs méthodes de traitement : laser, ultrasons, émission de radiofréquences, rayons X ou gamma, ou encore signal lumineux. Autant de moyens pour détruire à leur passage à travers le bracelet les cellules malades dans le sang.
Mais comment ces cellules cancéreuses sont-elles identifiées? L'idée est de faire avaler au patient des nanoparticules conditionnées en gélules, nanoparticules conçues pour s'attacher aux cellules cancéreuses. Nanoparticules repérées par le bracelet lorsqu'elles le traversent. Le bracelet n'a plus qu'à faire feu sur les cellules malades ainsi balisées.
Selon Google, le bracelet est en cours de développement, mais il pourrait ne pas être approuvé avant 5 ans par les autorités médicales.


