Microsoft s'apprêterait à sortir un nouvel ordinateur Surface tout en un

Par:
fredericmazue

ven, 09/09/2016 - 15:24

Ceci selon la blogueuse Mary-Jo Foley, qui a ses antennes chez Microsoft et dont les informations sont généralement très fiables.

Ce nouvel ordinateur pourrait être présenté lors de l'évènement Microsoft prévu le 26 octobre prochain à New York.

Le nom de code de cet ordinateur est 'Cardinal'. Il s'agirait d'un projet ambitieux dans le sens où il pourrait être la déclinaison grand public de la tablette géante professionnelle Surface Hub.

Cette machine proposerait trois tailles d'écran:  21, 24 et 27 pouces, avec à chaque fois une dalle 4K tactile très précise. Un PC pour transformer le bureau en studio, selon les termes de Mary-Jo Foley. Bien sûr ces ordinateurs seraient construits autour des nouveaux processeurs Intel Kaby Lake.

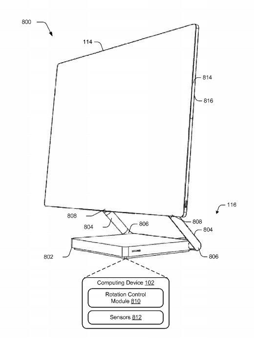
De plus il s'agirait de machines modulaires tout-en-un, fabriquée d'après un brevet. que la firme de Redmond a déposé en 2015. Ce brevet applique au PC l'idée du smartphone modulaire sur lequel a travaillé Google avec le projet Ara, avant de l'abandonner.

En revanche Microsoft ne devrait pas présenter de tablette Surface 5 avant 2017.

Microsoft n'a bien sûr commenté aucune de ces informations.