Microsoft : un papillon mécanique qui réagit à votre stress
lun, 07/07/2014 - 15:52
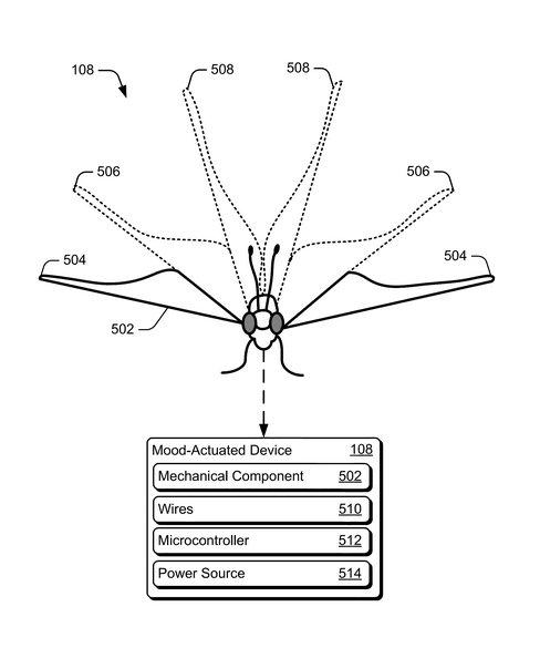
Vous êtes stressé ? Pouvez-vous imaginer qu'un papillon mécanique prenne son envol et vienne agiter ses ailes devant votre nez pour vous inviter à vous détendre ?
Microsoft a breveté le principe d'un tel papillon.
Le principe est que votre futur nouvel ange gardien reçoit des données émises par votre smartphone, après que vous ayez renseigné celui-ci sur votre humeur. Ou bien les données pourraient être reçues d'une montre connectée qui capterait diverses informations telles que vos pulsations cardiaques. Les données seraient ensuite transférées au papillon par le smartphone, après que celui-ci a appliqué des corrections de contexte. Par exemple si le smartphone se rend compte grâce à son GPS que l'utilisateur fait son footing matinal, il en déduira qu'il n'y a pas de situation de stress liée à des pulsations cardiaques en augmentation et le papillon restera au repos.
Si situation de stress il y a, le papillon prend son envol, en battant les ailes d'autant plus vite que le niveau de stress détecté est important, pour venir se positionner devant son propriétaire afin de l'inciter à se calmer.
Microsoft devrait sortir sa première montre connectée dès cet été. En revanche, aucune information ne semble indiquer qu'un tel papillon soit commercialisé en même temps.
Au fait, ça existe les papillons mécaniques volants ? Oui, le Kikuchi Lab de l'Institut de Technologie Chiba au Japon en a développé un. Le papillon breveté par Microsoft est similaire.
Le papillon mécanque breveté par Microsoft :


